Altillo.com > Exámenes > UBA - CBC > Biofísica
| Biofísica | Examen final | 2do Cuat. de 2002 | Altillo.com |
1. ¿Cuál de las siguientes velocidades es la mayor de todas? (a) un kilómetro por siglo; (b) un metro por semana; (c) diez centímetros por día; (d) diez kilómetros por mes; (e) diez metros por año; (f) un milímetro por segundo.
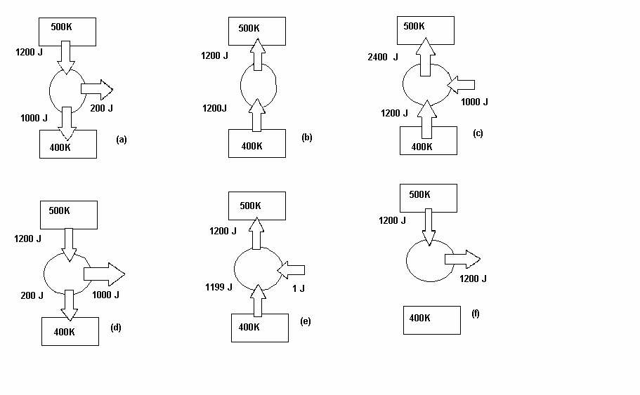
2. Los círculos de la figura representan máquinas que repiten su estado inicial cíclicamente y operan entre fuentes de calor cuyas temperaturas absolutas son las mostradas. Las flechas verticales indican intercambios de calor, y las horizontales, de trabajo. Indique cual es el único caso, entre los seis que se ofrecen, que corresponde a un proceso posible, porque no viola principios termodinámicos.

3. El volumen del cuerpo A es diez centímetros cúbicos, y la masa de la pesa B es de un gramo. La balanza se equilibra como indica la figura. Pero cuando se sumerge el cuerpo A en un liquido, se equilibra con el cuerpo B en la otra posición indicada a la derecha (note que esa pesa B ha sido desplazada 5 divisiones de la regla). Las divisiones de la regla son iguales, y equivalen a la distancia entre el punto de apoyo y el hilo del que cuelga el cuerpo A. ¿Cuánto vale la densidad del liquido? (la masa de A, la de la palanca y la ubicación de su centro de gravedad son datos innecesarios para resolver este ejercicio). (a) 0.3 g/cm3 ; (b) 0.4 g/cm3 ; (c) 0.5 g/cm3 ; (d) 0.6 g/cm3 ; (e) 0.7 g/cm3 ; (f) 0.8 g/cm3.

4. Se halló una flecha primitiva, de 50 gramos de masa clavada tres centímetros en un árbol, y se estimo que, para introducirla en la madera, se debió ejercer una fuerza constante de 300 kgf. ¿Con qué velocidad llego esa flecha al árbol? (a) 3 m/s; (b) 30 m/s; (c) 6 m/s; (d) 35 m/s; (e) 60 m/s; (f) 90 m/s.
5. En un termo que tiene medio litro de agua a veinte grados se introduce un calefactor eléctrico de 400 watts y se deja una pequeña abertura en la tapa. Calor de vaporización del agua 540 cal/g. ¿Cuánto tarda en evaporarse toda el agua? (a) menos de un minuto; (b) entre uno y diez minutos; (c) entre diez y veinte minutos; (d) entre veinte minutos y media hora; (e) entre media hora y una hora; (f) mas de una hora.
6. En el circuito de la figura los tres resistores son de 40 ohms cada uno, y la batería, de 12 volts. La tensión y la corriente que indican esos instrumentos (que se consideran ideales) valen, respectivamente: (a) 3V y 150mA; (b) 4V y 100mA; (c) 12V y 300mA; (d) 6V y 450mA; (e) 6V y 450; (f) 4.5V y 150mA.

7. Un panel aislante acústico disminuye en 20 decibeles el nivel sonoro. Si de un lado le llega un ruido de una densidad de potencia de 10 watts por metro cuadrado ¿Qué densidad de potencia sale del otro lado? (a) 1W/m2; (b) 0.25 W/m2; (c) 100 mW/m2; (d) 10 mW/m2; (e) 1 mW/m2; (f) cero.
8. Una persona tiene su punto de visión próximo a medio metro ¿que potencia, en dioptrías, deben tener los anteojos necesarios para permitir que, con ellos puestos, su punto próximo se encuentre a 25 centímetros? (a) +0.25; (b) +0.5; (c) +1; (d) +2; (e) +3; (f) +4.
9. Un líquido ideal fluye con caudal constante por un tubo que presenta un cambio de sección en la relación 2 a 1. ¿Cuál es la única afirmación, entre las seis que siguen, que es siempre correcta no importa cuanto valga el caudal ni cual sea el sentido de circulación del fluido? (a) la presión en A es menor que en B; (b) las presiones son iguales; (c) la presión en A puede se mayor, menor o igual que en B, según el valor de la velocidad del fluido; (d) la presión en A es mayor que en B; (e) la presión en A es un 41% mayor que en B; (f) la presión en A duplica la que hay en B.

10. ¿es posible quemar un papel con el sol y una lupa, pero con un vidrio interpuesto entre la lupa y el papel? (a) no, porque el vidrio deja pasar la luz, pero no el calor; (b) no, porque la ley de Snell establece una sola refracción entrante y una sola saliente, y con el vidrio habría dos y dos; (c) no, porque los rayos que inciden sobre el vidrio, al ser convergentes, son totalmente reflejados por superar el ángulo limite; (d) si, porque el vidrio de la lente y el vidrio plano transmiten el calor por convección; (e) no, porque si bien la lente produce una imagen real, la del vidrio plano es virtual; (f) si, la radiación solar atraviesa el vidrio.

11. Si la temperatura absoluta de un cuerpo aumenta un uno por ciento ¿ que ocurre con la potencia irradiada por ese cuerpo? (a) se mantiene invariante; (b) aumenta el 1%; (c) aumenta el 2%; (d) aumenta el 3%; (e) aumenta el 16%; (f) aumenta el 4%.
12. Se coloca en el tubo de la figura una solución concentrada de sacarosa en agua, se lo tapa por abajo con una membrana permeable al agua pero impermeable al soluto, u se sumerge ese extremo en agua pura. Después de un tiempo el nivel dentro del tubo asciendo y se estabiliza. ¿Qué ocurre si, en esas condiciones, se perfora la membrana? (a) el nivel del liquido en el tubo baja, y el de la cubeta sube; (b) los dos niveles suben; (c) el nivel en el tubo desciende hasta que su presión osmótica iguala a la atmosférica; (d) los dos niveles bajan; (e) los dos niveles permanecen estables, siempre que antes de que se efectúe la perforación se haya alcanzado el equilibrio osmótico; (f) el nivel del liquido en el tubo asciende, y el de la cubeta baja.

RESPUESTAS:
1. (d)
2. (a)
3. (c)
4. (e)
5. (e)
6. (b)
7. (c)
8. (d)
9. (d)
10. (f)
11. (f)
12. (a)